78岁传奇“证券教父”管金生离世,留下的九颂基金将何去何从?


国庆长假余温尚未散尽,金融圈却被一则讣告击穿平静,管金生突发疾病抢救无效,中国“证券业教父”走完了他人生的第78个春秋。这位曾亲手缔造第一家股份制券商万国证券、又在“327国债事件”中陨落的传奇人物,最终在平静中告别了他挚爱一生的资本市场。

在他人生的最后几年,管金生是上海九颂山河股权投资基金管理有限公司(简称“九颂基金”)实际控制人,但是谈到管金生,多数人的思绪都会回到他在万国证券的经历。而许多资深金融从业者,也被拉回到那个风起云涌的年代。

万国时代的创造与突破

在中国证券史的卷轴上,“万国证券”这个名字始终闪烁着传奇与悲壮的光芒。它的诞生,并非源于市场的自然选择,而是一场自上而下的、充满探索意味的“破冰实验”。而这场实验的灵魂舵手,正是管金生。

管金生1947年5月出生于江西省清江县的一个小山村,家境贫寒,凭借着出色的学习能力考入上海外国语学院法语系,早年曾在上海市公安局政保一处当了9年翻译。后因找不到对口工作,1982年转行投入上海国际信托,并被选送到比利时布鲁塞尔自由大学深造,成为法学、工商管理双硕士。

上世纪80年代末,中国的经济体制改革正行至关键路口,在证券交易无序状态中,建立规范的证券公司被提上日程,上海作为中国经济的龙头,被赋予了先行先试的使命。历史的目光,投向了那位拥有法学和工商管理双硕士、在国际信托投资公司工作、既懂国际金融又满怀报国热情的中年人——管金生。

图源:罐头图库

1988年7月18日,上海万国证券公司如期开业,成为新中国成立后第一家股份制证券公司。与此同时成立的还有中国人民银行上海市分行组建的上海申银证券、交通银行上海市分行组建的上海海通证券。管金生带领万国,以一系列雷霆万钧的攻势,迅速改写了中国证券业的格局。

万国证券垄断早期上海的大部分股票承销业务,在全国各大城市布局营业部,是当时国内网点最多的证券公司,公司内部实行严格的交易员培训和管理制度,其员工的专业素养和敬业精神,成为行业标杆。1990年上交所成立时,其交易规则、设备、交易员的培训等都有万国证券的参与。

到1994年,万国证券的总资产已超过50亿元,年度利润达10亿元,占据了上海证券交易所70%的A股交易量和几乎100%的B股交易量。其声名之盛,使其与申银、海通并称上海证券业“三巨头”,而管金生本人,也与阚治东、张国庆等人,被尊称为“中国证券教父”。

万国证券的创建史,是一段典型的“时势造英雄,英雄亦造时势”的传奇。管金生凭借其个人的远见、魄力与学识,抓住了历史性的机遇,在制度的空白处挥毫泼墨,亲手点燃了中国资本市场的星星之火。然而,那场极速的、近乎野蛮的生长,也为日后那场震惊中外的“327国债事件”的悲剧,埋下了伏笔。一个帝国的崛起与陨落,都在其创世的基因中,写下了最初的注脚。

“327”之夜的辗转与反思

这场金融地震的震源,是一张1992年发行、1995年6月到期的三年期国库券。当时的中国正处在高通胀时期,财政部会在国债到期时额外支付一笔“保值贴息”,而这个贴息率正是多空双方博弈的焦点。

以万国证券为首的空军坚信,国家正在抑制通胀,贴息率不可能再提高,保值贴息率将维持在8%的水平,预计国债将以132元的价格兑付。而以中国经济开发信托投公司为首的多军则笃定,贴息率必将维持高位。

1995年2月23日这一天,决战打响。财政部宣布“327国债”将按148.5元兑付,这个价格意味着保值贴息率远超预期,空军的判断彻底错误。

万国证券掌门人管金生一直盯着交易数字,面对着数十亿元的巨额亏损,这位曾经的中国证券教父,在最后八分钟做出了一个震惊世界的决定:不惜一切代价砸盘。

图源:罐头图库

1995年2月23日下午4点22分,上海证券交易所的交易大厅里,所有人都屏住了呼吸。

电子屏幕上,国债期货“327”合约的价格突然开始下跌。在最后的八分钟里,这个代码为“327”的合约经历了一场前所未有的风暴——1056万手天量卖单如洪水般涌出,面值高达2112亿元,而这个国债的总发行量不过240亿元,把价格从151.3元打到147.5元。

当天晚上10点经过紧急会议后,上交所总经理尉文渊下令宣布,23日16时22分13秒之后的所有“327”品种的交易异常,是无效的,当日收盘价为151.3元。

这个决定让万国证券的直接亏损锁定在56亿元,也意味着这家中国最早的证券公司走到了尽头。1996年,万国证券与申银证券合并,曾经的“证券王国”就此陨落。国债期货市场被关闭,管金生最终因贪污和挪用公款罪而锒铛入狱。

2015年,管金生在一次论坛中公开谈论“327国债事件”,并不口服心服,但是在行动上绝对尊重和遵守法律的判决。他说:“我这一生吃亏,吃很大的亏,就是没有放下自己内心的骄傲和清高。我如果当初可以克服自我,做自己不愿意做的事情,不断地向交易所上级部门、再上一级部门奔走呼号,说不定真的能改变现实,能够扭转乾坤。”

管金生还表示,互联网时代改变了信息不对称,类似“327国债事件”的历史悲剧现在完全可以避免。

69岁再创业,

九颂基金开启新征程

管金生于1997年2月3日被上海第一中级人民法院判处17年有期徒刑,实际服刑时间为1995年5月到2003年1月,2023年获准保外就医。

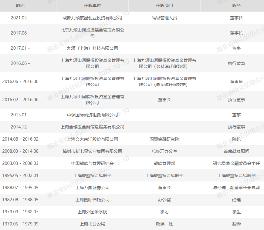
据其公开表述,在上海提篮桥监狱将近八年的生活期间,翻阅了大量全球化和互联网的英文资料,对移动互联网技术有了深刻认知。从中国基金业协会公布的履历来看,管金生时刻没有闲着。

2003年3月到2008年3月担任中国战略与管理研究会研究员兼金融委员会主任;2008年3月到2014年8月任樟树市新七星实业集团有限公司首席战略顾问;2014年8月至2016年2月任上海交大南洋股份有限公司国际金融研究院院长。

来源:中国基金业协会

2016年,69岁的管金生进行了最后一次创业,投身私募基金行业,成立了九颂基金,并于次年拿到了私募管理人牌照。值得注意的是,九颂基金的办公地点,就在上海证券交易所旧址、浦发银行大厦的附近,而这座大厦的原名是万国证券大厦,是巧合,还是有意为之?

九颂基金注册资本1500万元,实缴1275万元,根据基金业协会披露的信息,管金生、熊文辉、沈梦莹、卢云清分别持有82%、14%、3%、1%股份。

中基协信息显示,九颂基金最近一次重大事项变更是9月15日,变更内容包括主体资格证明文件及相关内容、出资人、高管、投资人员变更,变更状态为退回补正。或许在管金生离世之前,公司已做好了股权和人事上的安排。董事长一职空缺下来之后,总经理熊文辉能否独挑大梁?

九颂基金专注于私募股权投资,根据公司披露的信息,累计投资金额超过20亿元,多个项目实现IPO,致力于人工智能、半导体、高端装备、生物医药和新消费领域的投资。

谈及近几年的私募股权投资市场,北山常成基金投研院常务院长王兆江表示,野蛮生长终结,进入换挡调整期,基金备案数量与规模显著下,2023年投资交易额跌至十年低点。投资高度集中于硬科技与战略性新兴产业,电子信息(尤其是半导体)、医疗健康、先进制造是三大核心赛道。此外,人工智能、新能源与储能、新材料等领域也备受关注。

根据《证券时报》此前报道,2017年3月九颂基金与苏州市高新区管委会签署备合作忘录,为当地企业发展提供优质金融服务。2020年8月,斯莱克国际新设立控股子公司——江苏正彦数码科技有限公司落地常州市武进绿色建筑产业集聚示范区,正是由九颂基金重点推荐,项目一期总投资不少于3亿元,二期拟投资不低于2亿元。2021年下半年,国内商业运载火箭领域的星河动力(北京)空间科技有限公司完成总额12.7亿元B及B+轮融资,由东方富海和华强资本领投,九颂基金旗下的九颂和泽跟投。

九颂基金曾与上市公司合作,根据信披要求,其财务状况曾经公示,2020年实现营业收入7.36万元,净利润-93.67万元,截至该年末总资产535.89万元,负债总额345.79万元,净资产190.1万元。私募股权项目投资周期比较长,盈利的实现具有显著滞后性。

图源:罐头图库

2024年3月,重庆九颂智元人工智能产业基金在重庆市沙坪坝区成立,九颂基金总经理熊文辉与哈德逊集团董事长游佩签约授权书,首期规模为10亿元。

最近公开的一次投资是2025年7月,量旋科技宣布完成数亿元B系列轮融资,投资方包括建信股权、梁溪科技城发展基金等政府基金,以及星空投资、华强资本、九颂基金等多家机构。

管金生旗下还有一家备案的私募基金公司——成都九颂繁星创业投资有限公司,成立于2021年3月,九颂基金、上海铖晖企业管理中心(有限合伙)分别持股10%、90%,管金生担任董事长。

对于私募股权投资而言,退出是实现价值兑现的决定性环节,决定最终回报。然而退出难度极高,需精准把握时机,权衡IPO、并购等路径的不确定性,并承受市场流动性及政策变化风险。这也是九颂基金面临的挑战。

王兆江称,随着IPO退出承压,多元化退出成常态,回报面临挑战,协议转让和企业回购是最主要退出方式;IPO退出回报倍数均值有所下降;但S基金(私募股权二级市场基金)作为退出缓冲区的重要性提升。

九颂基金规模并不大,根据中基协信息,截至2024年末管理规模为0-5亿元,全职员工人数8人,基金从业人数7人,过去四年公司参保人数一直都是9-10人。

在明星创始人的光环之下,基金最终仍要经历完整投资周期的考验,其成功与否需要更长时间和更多数据来客观评判。九颂基金在失去灵魂人物之后,能否保持投资策略的连贯与团队稳定?如能克服优质项目稀缺、退出渠道收窄等多重挑战,成为穿越周期的专业投资机构,或许是对管金生传奇生涯最有意义的续写。



Source link

发表回复

您的邮箱地址不会被公开。 必填项已用 * 标注