近日,据信用中国(山西太原)官网公示,多家三甲医院因医保违规被处罚。

信用中国(山西太原)官网截图
其中,山西白求恩医院涉虚计药品、耗材、诊疗项目等数量多收费;串换诊疗项目「以低充高」多收费等,被要求退回损失的医保基金约 588.8 万元,并处以 2 倍的行政罚款约 1177.6 万元。
山西医科大学第二医院(山西医科大学第二临床医学院)被要求退回损失的医保基金约 104.8 万元,并处以 2 倍的行政罚款。
山西省儿童医院(山西省妇幼保健院、山西省妇产医院)被要求退回损失的医保基金 3740.07 元,并处以 1 倍的行政罚款。
山西省人民医院被要求退回损失的医保基金约 36.5 万元,并处以 1.5 倍的行政罚款。
山西省心血管病医院被要求退回损失的医保基金 88.6 万元,并处以 2 倍的行政罚款。
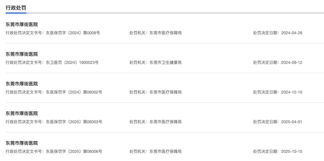
此外,根据信用中国(广东)官网公示,2025 年 10 月 10 日,东莞市厚街医院存在超标准收费的违法违规使用医保基金行为,违法违规金额为人民币 1781.9 元,被罚款 2456.11 元。
此前,东莞市厚街医院已多次因医保违规被处罚。

信用中国(广东)官网截图
另据信用中国(黑龙江)官网公示,上个月,伊春市第一医院因违规使用医保基金,被处以医保基金损失 2 倍罚款约 1301 万元。

信用中国(黑龙江)官网截图
监制:z_popeye